При изготовлении корабельных орудий на моделях судов далеко не последнюю роль играет их правильное оснащение. Искусно изготовленное орудие, просто приклеенное на палубе, будет выглядеть незаконченно, даже глаз непрофессионала заметит, что такая пушка при качке будет свободно раскатываться по палубе, а в шторм вообще превратится в смертоносный снаряд, угрожающий не только команде, но и кораблю. Это только наиболее очевидная сторона, вообще пушки имели зачастую довольно значительный вес, поэтому всевозможные тали были просто необходимы для перекатывания орудия, зарядки, и наведения его на цель. Попробуем разобраться с устройством различных дополнительных деталей орудий, талей и тросов применяющихся в различные времена в различных странах.
Орудие наводилось на цель при помощи простейших прицельных приспособлений - клина или винта, поднимающих или опускающих казенную часть орудия. Горизонтальная наводка осуществлялась путем поворота орудия при помощи рычагов. Дистанция стрельбы не превышала к середине XIX века 400-1000 м.
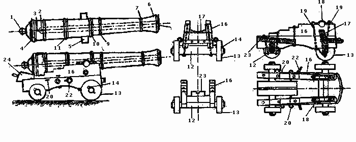
Рис.1 Конструкция корабельной пушки
1 - винград; 2 - запальное отверстие; 3 - запальная полка; 4 - пояс у казны; 5 - цапфы; 6 - дульный венок; легвант; 7 - дульный обод; 8 - дуло; 9 - обод ствольного пояса; 11 - обточка первого 'усиления'; 12 - ось колес; 13 - колеса; 14 - железные нагели или шплинты; 15 - лафетная рама; 16 - боковые стенки-щеки; 17 - подушка лафета; 18 - накидка для цапфы; 19 - болты квадратного сечения; 20 - обухи для крепления пушечных талей; 21 - сквозное отверстие в лафете для прохода брюка; 22 - рымы для проводки брюка; 23 - подушка подъемного клина; 24 - подъемный клин
Готовое к стрельбе орудие фиксировалось клиньями. Порох поджигался фитилем через запальное отверстие. При стрельбе бомбой предварительно поджигался фитиль бомбы. После выстрела ствол орудия чистился банником - щеткой из бараньей шкуры. Весь процесс подготовки орудия к выстрелу вместе с наводкой на цель занимал 8-15 минут. Прислуга орудия зависела от его калибра и могла достигать 3-4 чел. у маленьких пушек или 15-18 чел. у больших орудий. Низкая скорострельность и точность стрельбы (судно постоянно раскачивалось на волнах) вынуждали устанавливать на судне как можно больше орудий и вести огонь залпами по одной цели. Вообще потопить деревянный корабль или фрегат такими средствами было очень сложно. Поэтому тактика артиллерийского боя сводилась к уничтожению мачт и парусов на вражеском судне. Затем, если враг не сдавался, его судно поджигалось брандскугелями и бомбами. Чтобы экипаж не мог потушить пожар, по верхней палубе вели огонь картечью. Рано или поздно огонь добирался до запасов пороха. Если же необходимо было захватить корабль противника, то на него высаживалась абордажная партия, которая в рукопашном бою уничтожала экипаж вражеского корабля.
В пушке различали следующие детали: внутреннюю часть трубы орудия - канал; переднюю часть - дуло; 'усиления' - цилиндры, надетые на трубу; цилиндрические приливы, на которых орудие вращалось в вертикальной плоскости - цапфы; часть трубы от цапф до дула - ствол; заднюю часть орудия - казну или казенную часть; прилив к казне - винград; отверстие в трубе рядом с казной, в которое засыпали порох для воспламенения заряда, - запальное отверстие и т.д. Эти и прочие детали орудия показаны на рис.1, на котором можно видеть и соотношения отдельных деталей.
Лафеты, или 'тележки', изготовляли из дуба. Они состояли из двух боковых стенок - щек, которые к задней части орудия понижались ступенчато по высоте. Между щеками крепили горизонтальную доску - раму, а к ней - оси колес. Колеса тоже выполняли из дуба и оковывали железом. В соответствии с поперечной погибью палубы диаметр передних колес был несколько больше, чем задних, поэтому на лафете орудие лежало горизонтально. В передней части рамы между щеками находился вертикальный брус - 'подушка лафета'. Ее верхняя часть имела полукруглый вырез для облегчения подъема ствола. В щеках были вырезаны два полукруглых гнезда для установки цапф орудия. Сверху цапфы удерживали железные накидки полукруглой формы. Отдельные детали лафета скрепляли между собой железными болтами со шплинтами. Дополнительно на лафетах установили рымы для крепления талей.
Старинные орудия на судах во время боя передвигали для зарядки и наводки, а в остальное время из-за качки их приходилось основательно крепить с помощью специального инвентаря.

Рис. 2. Пушечные и откатные тали, брюк.
1 - брюк (французский вариант); 2 - брюк (английский вариант); 3 - пушечные тали; 4 - откатные тали.
Брюк — это мощный трос, проходивший через боковые стенки лафета, концы которого крепили на рымах боковых сторон пушечных портов. Служил для удержания орудия при откате. На английских судах брюк проходил не через лафет, а через рымы на боковых стенках лафета.
Пушечные тали — состояли из двух блоков с гаками, которые крепили в рымах на щеках лафета и по бокам пушечных портов. С их помощью орудие подкатывали к порту и откатывали от него. Для этого двое талей заводили с двух сторон орудия (рис. 2).
Откатные тали — это один или двое талей, основанных так же, как и пушечные, и служивших для втягивания орудия внутрь судна. Обычно орудия закрепляли на судне при помощи тросов, во время боя их выдвигали из пушечных портов. Иногда это делали во время стоянки на якоре, для того, чтобы придать судну парадный вид.
Для закрепления орудия его втягивали внутрь судна и опускали казенную часть так, чтобы дуло касалось верхнего косяка порта. Брюк заводили под переднюю ось лафета, а ствол крепили тросом, который охватывал его и был закреплен на рыме в середине верхнего косяка.
Рис. 3. Орудие, закрепленное при помощи тросов.
1 - лафет; 2 - ствол; 3 - крепление дула; 4 - строп казенной части; 5 - брюк; 6 - пушечные тали; 7 - откатные тали; 8 - трос, стягивающий брюк и пушечные тали; 9 - трос крепления батареи; 10 - клинья.
Винград орудия тоже охватывали стропом, в огон которого заводили гак откатных талей. Второй гак талей крепили в рыме на косяке. Затем пушечные тали набивали и, обтянув их, прихватывали брюк при помощи тонкого конца. Для безопасности под колеса лафета подкладывали клинья, кроме того, все орудия одной батареи скрепляли друг с другом тросом, проходившим над нижней «ступенькой» лафета через рымы на палубе и гаки по бокам пушечных портов (рис. 3).
Одним из основных отличий в английской и французской схемах крепления орудия является проводка брюка. Пушки различного размера могли иметь различное количество талей. Например на более легких пушках вместо пары откатных талей зачастую использовали одни, закрепленные за рым стоящий по центру лафета (рис. 7). На российских судах применялась схема подобная английской. Вот как это описано в книге Глотова 'Изъяснения к вооружению корабля':
Пушки на станках ставятся на деках в портах , прикрепляются к бортам талями и брюками (толстые смоленые веревки; делаются из вант-тросов, толщиною от 8 до 5 ½ дюймов, смотря по калибру пушки, а длиною в 2 ½ длины пушки; тали же из обыкновенных тросов толщиною 1/3 брюк. Брюки прикрепляются к рымам, утвержденным в бортах, и, проходя сквозь рымы в пушечном станке, удерживают собою при отдаче пушку и помогают в укреплении ея к борту), ломы и ганшпуги лежат под станками, банники, прибойники, пыжевники над пушками. Часть ядер и картечь кладется в сделанных с боков у пушек, так называемых кранцах (Кранцами называются сделанные из веревок кольца, оные служат для того, чтобы положенные в них ядра никуда не раскатывались), или среди палубы в прибитых планках, или кругом люков; часть ядер помещается в ящиках, сделанных в трюме вокруг льяла что около грот-мачты, где они дополняют тот вес, которым средина корабля паче других его частей должна быть обременена. Калибр пушек от нижнего дека кверху постепенно уменьшается и вообще соразмерно величине и крепости судна. На 74-пушечном корабле обыкновенно в нижнем деке ставят 36-фунтовыя, в верхнем 18, а на шканцах и баке 8-фунтовыя пушки. Вес всех сих пушек без станков и снарядов составляет почти 1/2 часть всего полного груза корабля. В мирное время отпускается на корабль на каждую пушку по 65 ядер по 10 друвгагелей (Drufhagel) с картечами и пороху на 56 боевых выстрелов, прибавляя несколько для мушкетной стрельбы; но во время войны сие количество увеличивается в полтора или в два раза. Артиллерийские припасы, как то: фитили, армяк, запасные колеса, оси, ломы, ганшпуги, банники, прибойники и прочее - помещаются в одной из кают около выхода носовой крют-камеры и в галерее, окружающей оную, и около хода к фонарю.
На рис. 3 показана одна из наиболее сложных схем крепления (шваротовки) орудий в походном положении. Существуют и более простые, но менее надежные приемы, которые также зачастую использовались. Простая одинарная швартовка рис. 4 вполне достаточна при спокойной погоде на море, и является наиболее легкой в выполнении. Ходовыми концами подкатных талей выполняют по одному обороту за виноград орудия и фиксируют их. За более подробным описанием этой и последующих схем пожалуйте на http://perso.wanadoo.fr/gerard.delacroix , к вашему вниманию оригиналы на французском.

Рис. 4. Простая одинарная швартовка.
Следующей по надежности, а также по сложности, была двойная швартовка, рис. 5. Концом подкатных талей выполняли несколько оборотов за виноград и крюк подкатных талей на борте, этим же концом перетягивали получившиеся петли у винограда и крепили.
Рис. 5. Двойная швартовка.
Швартовка орудия вдоль борта (рис.6) применялась в тех случаях, когда судно использовалось как транспортное, или на малых кораблях с низкой палубой, которая при сильных ветрах заливалась волной. Орудие располагали вдоль борта напротив порта и крепили через рымы на бортах и оси колес.
Рис. 6. Швартовка вдоль борта.
Корабельная артиллерия развивалась одновременно с сухопутной. Пушки были гладкоствольными, отливались они из чугуна и меди. Стреляли пушки с помощью черного дымного пороха сплошными чугунными ядрами. Заряжали орудия с дула, выстрел производили поджигая порох в затравочном отверстии. Стрельба велась только прямой наводкой. Калибр орудий в петровские времена был от двух до 30 фунтов (рис. 7)
Рис. 7. Типичное артиллерийское орудие петровских времен:
1 - лафет; 2 - цапфы ствола орудия; 3 - рым для откатных талей; 4 - стяжные болты
Рис. 8. Ствол орудия-единорога
Ствол единорога был длиннее ствола пехотной гаубицы, но короче ствола морской пушки. Из него можно было вести навесной и настильный огонь, используя при этом все виды снарядов: ядра, разрывные гранаты (бомбы), зажигательные снаряды и картечь Картечное действие единорога было во много раз сильнее картечного действия мортиры, а дальность стрельбы ядром и бомбой в два раза дальше, чем у мортиры такого же веса. Осадная артиллерия имела в своем распоряжении 24- и 18-фунтовые пушки, а также 1 -пудовые единороги. Единороги настолько хорошо зарекомендовали себя, что вскоре были приняты на вооружение в армиях многих западных государств. Продержались они вплоть до внедрения нарезной артиллерии (середина XIX в.).
С 1787 г. на флоте были введены пушки нового образца : 24- и 31-фунтовые карронады (рис. 9), а в начале XIX в. - 68- и 96-фунтовые. Это были небольшой длины крупнокалиберные пушки, стрельба из которых на близких дистанциях производила большие пробоины и разрушения корпуса вражеского корабля. Предназначались они для стрельбы на ближних дистанциях, и устанавливались преимущественно на верхней палубе - шканцах и баке. Лафет у карронад был несколько иного устройства - носовая часть лафета крепилась болтом к подушке, а кормовая имела леса, расположенные поперек лафета, что позволяло производить горизонтальную наводку. Для вертикальной наводки на лафете был приспособлен вертикальный винт, при помощи которого поднималась и опускалась задняя часть ствола. В те же годы чугун материал для отливки орудий стал заменяться бронзой.
Рис. 9. Карронада
Последним достижением русской гладкоствольной артиллерии были 68-фунтовые (214-мм) бомбические орудия, сыгравшие важную роль в Синопском сражении 1853 г. Испытания новой пушки производились в Николаеве в 1839 г., а с 1841 г., по настоянию Корнилова, ими начали вооружать корабли Черноморского флота. Первым кораблем, вооруженным 68-фунтовыми бомбическими орудиями, был 120-пушечный трехдечный линейный корабль 'Двенадцать апостолов', спущенный на воду в 1841 г., а затем и однотипные с ним линейные корабли 'Париж', 'Великий князь Константин' и 'Императрица Мария'.
Бомбические орудия (рис. 10) отличались от так называемых длинных пушек тем, что их снаряды, имея одинаковую массу и такую же дальность полета снаряда, производили более значительные разрушения за счет того, что они были полыми и начинялись разрывным зарядом. Огневая мощь линейного корабля, вооружённого такими орудиями, возрастала втрое. Метко направленные бомбические снаряды производили страшные разрушения на вражеских судах, они пронизывали борта, сбивали мачты и опрокидывали вражеские орудия. Пробив борт корабля, они разрывав внутри его, сокрушая все вокруг и вызывая пожары. Через 15-20 мин после начала русской канонады в Синопском сражении большинство турецких кораблей уже пылали.
Рис. 10. Бомбическое орудие
Обыкновенные турецкие пушки того времени стреляли сплошными ядрами, не причинявшими противнику особого вреда. Так, например, в 1827 г. в победоносном морском сражении при Наварине русский флагманский корабль 'Азов' получил 153 пробоины, в том числе 7 подводных. Это не помешало его командиру капитану 1 ранга М. П. Лазареву потопить турецкий флагманский корабль, 3 фрегата, корвет и заставить выброситься на берег неприятельский 80-пушечный корабль. А 'Азов' вскоре был отремонтирован и продолжал свою славную службу в строю родного флота. Бомбические орудия очень скоро вытеснили пушки, стрелявшие сплошными чугунными ядрами.
К середине XIX в. гладкоствольная артиллерия достигла, высшего совершенства. По наружному виду пушки различаются в зависимости от того, на каком заводе и в какое время они отливались. Пушки более раннего периода имели украшения в виде фризов, поясов, украшенных затейливым литьем. Пушки более позднего изготовления не имели этих украшений. Калибр орудий к середине XIX в. достигал 32-36 фунтов, а бомбических 68-96 фунтов.
Ориентировочные размеры калибров некоторых орудий в метрической системе мер следующие: 3-фунтовые-61-мм, 6-фунтовые-95-мм, 8-фунтовые-104-мм, 12-фунтовые-110-мм, 16-фунтовые- 118-мм, 18-фунтовые-136-мм, 24-фунтовые- 150-мм, 30-фунтовые-164-мм, 36-фунтовые-172-мм, 68-фунтовые-214-мм.. Карронады делались 12-, 18-, 24-, 32-, 36-, 68- и 96-фунтовыми.
Орудийные порты - это почти квадратные отверстия, вырезанные в бортах корабля (рис. 11). Делались порты в носовой и кормовой частях корабля. В носовой части это так называемые порты погонных орудий, в кормовой - для орудий, используемых при защите от преследующего противника. В них ставили обыкновенно орудия, снятые с ближайших бортовых портов, размещенные на том же деке.
Рис. 11. Пушечные порты двухдечного линейного корабля конца XVIII;
1-гондек-порты; 2 - опердек-порты; 3 - шканечные полупорты: 4-грот-руслень 5 - нижние юферсы; 6 - вант-путенсы; 7 - бархоуты; 8 - бортовой трап
Крышки орудийных портов, которые наглухо закрывали их, изготовляли из толстых досок, обшитых поперечными, более тонкими досками (рис. 12).
Рис. 12. Крышки орудийных портов;
1-крышка порта; 2-украшение крышек портов инкрустацией; 3 - способ открывания и закрывания крышек портов.
Сверху крышки подвешивали на шарнирах. Открывали их изнутри, при помощи тросов, концы которых были заделаны в рымах на верхней стороне крышки, а закрывали с помощью другого троса, прикрепленного к рыму на внутренней стороне крышки. На верхней палубе в фальшборте орудийные порты делали без крышек и называли полупортами. В петровские времена внешнюю сторону крышек портов часто украшали инкрустацией в виде золоченого венка, вырезанного из дерева.
Размеры портов и расстояние между ними зависели от диаметра ядра. Так, ширина и высота портов составляли соответственного 6,5 и 6 диаметров ядра, а расстояние между осями портов - примерно 20-25 диаметров ядра. Расстояния между портами диктовали нижние (самые крупнокалиберные) орудия, а остальные порты прорезались в шахматном порядке.
Расстояние между всеми нижними портами, плюс расстояние от крайних портов к носу и корме определяло длину батарейной палубы, а последняя - длину корабля и соответственно все остальные его размеры. Отсюда иногда в литературе встречается термин 'длина корабля по гондеку'.
Теперь от истории и теории, для наглядности перейдем к примерам и фотографиям различных орудий, а так как можно выделить две основные схемы установки талей орудий – английскую и французскую, сначала Англия:
![]() | 36-фунтовая (173мм) русская опытная пушка образца 1786 года с подъёмным винтом для изменения угла возвышения ствола орудия на корабельном откидном станке. |
![]() | Гладкоствольная 36-фунтовая (173 мм) пушка, так называемое орудие новой конструкции 1838 года, ствол которого отливался без фризов и поясов. |
![]() | ![]() |
![]() | ![]() |
![]() | ![]() |
![]() | ![]() |
![]() | ![]() |
![]() | ![]() |
![]() | |
Это были орудия установленные на английский манер. Теперь Франция:
![]() | |
![]() | ![]() |
Последняя картинка неплохой пример, установки именно на модели. Исходя из масштаба модели можно некоторые элементы не выполнять, также, как и с такелажем, излишняя перегруженность модели будет только минусом. Но в любом случае оставлять орудие без оснастки, я полагаю, некрасиво. Как минимум стоит выполнить брюк, независимо от масштаба модели, хотя бы по более простой схеме без рымов на французский манер.
Дмитрий Лучин
В статье использованы выдержки из книг Курти «Постройка моделей судов»,
Глотова 'Изъяснения к вооружению корабля'
а также материалы сайтов
http://perso.wanadoo.fr/gerard.delacroix
http://www.grinda.navy.ru
http://piratghostship.narod.ru.
Отдельная благодарность Илье Лоскутову и Дмитрию Бугеда за предоставленные материалы.
Статьи на тему:



























